[Previous] [Next]

DTC P0174: System too Lean (bank 2)



Fuel Trim Circuit
• Refer to DTC P0201 - P0206, Injector Circuit .

CIRCUIT OPERATION
• Refer to DTC P0201 - P0206, Injector Circuit .
TECHNICAL DESCRIPTION
• If a malfunction occurs in the fuel system, the fuel trim value becomes too large.
• The PCM checks whether the fuel trim value is within a specified range.
DESCRIPTIONS OF MONITOR METHODS
Left bank air/fuel learning value (long term fuel trim) and air/fuel feedback integral value (short term fuel trim) are too lean.
MONITOR EXECUTION
Continuous
MONITOR EXECUTION CONDITIONS (Other monitor and Sensor)

Other Monitor (There is no temporary DTC stored in memory for the item monitored below)
• Misfire monitor

Sensor (The sensor below is determined to be normal)
• Volume airflow sensor
• Engine coolant temperature sensor
• Intake air temperature sensor
• Barometric pressure sensor
• Throttle position sensor
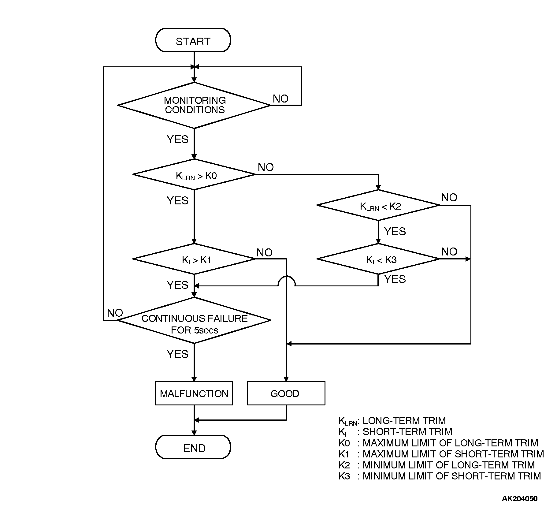
DTC SET CONDITIONS Logic Flow Chart


Check Conditions
Engine coolant temperature is lower than approximately 100°C (212°F) when the engine is started.
Intake air temperature is lower than 60°C (140°F) when the engine is started.
Under the closed loop air/fuel ratio control.
Engine coolant temperature is higher than 77°C (171°F).
Volume airflow sensor output frequency is 100 Hz or more.

Judgment Criteria
• Long-term fuel trim has continued to be higher than +12.5 percent for 5 seconds.
or
• Short-term fuel trim has continued to be higher than +7.4 percent for 5 seconds.

Check Conditions
• Engine coolant temperature is lower than approximately 100°C (212°F) when the engine is started.
• Intake air temperature is lower than 60°C (140°F) when the engine is started.
• Under the closed loop air/fuel ratio control.
• Engine coolant temperature is higher than 77°C (171°F).
• Volume airflow sensor output frequency is 100 Hz or less.

Judgment Criteria
• Long-term fuel trim has continued to be higher than +12.5 percent for 5 seconds.
or
• Short-term fuel trim has continued to be higher than +12.5 percent for 5 seconds.

Check Conditions
• Engine coolant temperature is higher than approximately 100°C (212°F) when the engine is started.
• Intake air temperature is higher than 60°C (140°F) when the engine is started.
• Under the closed loop air/fuel ratio control.
• Engine coolant temperature is higher than 77°C (171°F).
• Volume airflow sensor output frequency is 100 Hz or more.

Judgment Criteria
• Long-term fuel trim has continued to be higher than +12.5 percent for 5 seconds.
or
• Short-term fuel trim has continued to be higher than +17.6 percent for 5 seconds.

Check Conditions
• Engine coolant temperature is higher than approximately 100°C (212°F) when the engine is started.
• Intake air temperature is higher than 60°C (140°F) when the engine is started.
• Under the closed loop air/fuel ratio control.
• Engine coolant temperature is higher than 77°C (171°F).
• Volume airflow sensor output frequency is 100 Hz or less.

Judgment Criteria
• Long-term fuel trim has continued to be higher than +12.5 percent for 5 seconds.
or
• Short-term fuel trim has continued to be higher than +22.3 percent for 5 seconds.

Check Conditions
• Engine coolant temperature is higher than 77°C (171°F).
• Under the closed loop air/fuel ratio control.

Judgment Criteria
• Long-term fuel trim has continued to be +12.5 percent for 5 seconds.
or
• Short-term fuel trim has continued to be +25 percent for 5 seconds.
OBD-II DRIVE CYCLE PATTERN
Refer to Diagnostic Function - OBD-II Drive Cycle - Procedure 2 - Fuel Trim Monitor .

TROUBLESHOOTING HINTS (The most likely causes for this code to be set are:
• Volume airflow sensor failed.
• Injector (Number 2, 4, 6) failed.
• Incorrect fuel pressure.
• Engine coolant temperature sensor failed.
• Intake air temperature sensor failed.
• Barometric pressure sensor failed.
• Exhaust leak.
• Use of incorrect or contaminated fuel.
• Harness damage in injector.
• Connector damage.
• Intake system vacuum leaks.
• PCM failed.