[Previous] [Next]

DTC P0135: Heated Oxygen Sensor Heater Circuit (bank 1 sensor 1)


CIRCUIT OPERATION
• Power is supplied from the MFI relay (terminal No. 1) to the right bank heated oxygen sensor (front) heater.
• The PCM (terminal No. 4) controls continuity to the right bank heated oxygen sensor (front) heater by turning the power transistor in the PCM "ON" and "OFF".
TECHNICAL DESCRIPTION
• The PCM checks whether the heater current is within a specified range when the heater is energized.
DESCRIPTIONS OF MONITOR METHODS
Right bank heated oxygen sensor heater (front) current is out of specified range when engine coolant temperature is over 20°C (68°F).
MONITOR EXECUTION
Continuous
MONITOR EXECUTION CONDITIONS (Other monitor and Sensor)

Other Monitor (There is no temporary DTC stored in memory for the item monitored below)
• Not applicable

Sensor (The sensor below is determined to be normal)
• Engine coolant temperature sensor
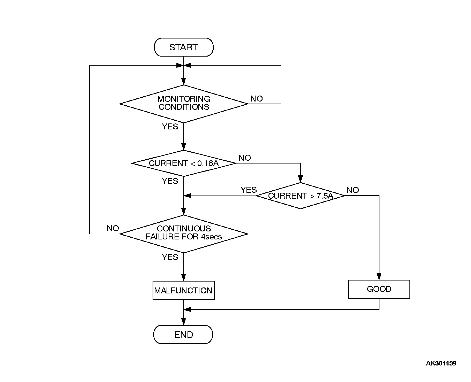
DTC SET CONDITIONS Logic Flow Chart


Check Conditions
60 seconds have elapsed from the start of the previous monitoring.
Engine coolant temperature is higher than 20°C (68°F).
While the right bank heated oxygen sensor (front) heater is on.
Battery positive voltage is at between 11 and 16.5 volts.

Judgment Criteria
• Heater current of the right bank heated oxygen sensor (front) heater has continued to be lower than 0.16 ampere or higher than 7.5 ampere for 4 seconds.
OBD-II DRIVE CYCLE PATTERN
Refer to Diagnostic Function - OBD-II Drive Cycle - Procedure 6 - Other Monitor .
TROUBLESHOOTING HINTS (The most likely causes for this code to be set are:
• Open or shorted right bank heated oxygen sensor (front) heater circuit, harness damage or connector damage.
• Open circuit in right bank heated oxygen sensor (front) heater.
• Right bank heated oxygen sensor (front) failed.
• PCM failed.