[Previous] [Next]

DTC P0158: Heated Oxygen Sensor Circuit High Voltage (bank 2, sensor 2)


CIRCUIT OPERATION
• A voltage corresponding to the oxygen concentration in the exhaust gas is sent to the PCM (terminal No. 73) from the output terminal (terminal No. 4) of the left bank heated oxygen sensor (rear).
• Terminal No. 2 of the left bank heated oxygen sensor (rear) is grounded with PCM (terminal No. 57).
TECHNICAL DESCRIPTION
• The output signal of the left bank heated oxygen sensor (front) is compensated by the output signal of the left bank heated oxygen sensor (rear).
• The PCM checks for an open circuit in the left bank heated oxygen sensor (rear) output line.
DESCRIPTIONS OF MONITOR METHODS
Left bank heated oxygen sensor (rear) output voltage is over specified range.
MONITOR EXECUTION
Continuous
MONITOR EXECUTION CONDITIONS (Other monitor and Sensor)

Other Monitor (There is no temporary DTC stored in memory for the item monitored below)
• Heated oxygen sensor heater (front) monitor
• Heated oxygen sensor heater (rear) monitor
• Air/fuel ratio feedback monitor

Sensor (The sensor below is determined to be normal)
• Volume airflow sensor
• Engine coolant temperature sensor
• Intake air temperature sensor
• Barometric pressure sensor
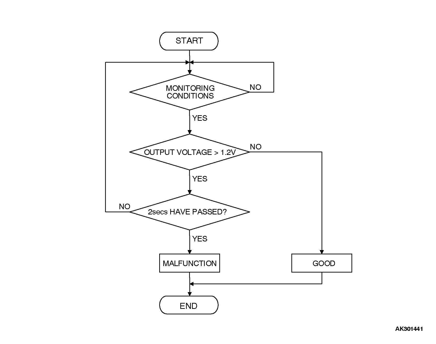
DTC SET CONDITIONS Logic Flow Chart


Check Conditions
• 2 minutes or more have passed since the starting sequence was completed.

Judgment Criteria
• Left bank heated oxygen sensor (rear) output voltage has continued to be 1.2 volts or higher for 2 seconds.
OBD-II DRIVE CYCLE PATTERN
Refer to Diagnostic Function - OBD-II Drive Cycle - Procedure 6 - Other Monitor .
TROUBLESHOOTING HINTS (The most likely causes for this code to be set are:
• Open circuit in left bank heated oxygen sensor (rear) output line.
• Connector damage.
• PCM failed.