[Previous] [Next]

DTC P0152: Heated Oxygen Sensor Circuit High Voltage (bank 2, sensor 1)


CIRCUIT OPERATION
• A voltage corresponding to the oxygen concentration in the exhaust gas is sent to the PCM (terminal No. 71) from the output terminal (terminal 4) of the left bank heated oxygen sensor (front).
• Terminal No. 2 of the left bank heated oxygen sensor (front) is grounded with PCM (terminal No. 57).
TECHNICAL DESCRIPTION
• The left bank heated oxygen sensor (front) detects the concentration of oxygen in the exhaust gas; it converts that data to voltage, and sends it to the PCM.
• When the left bank heated oxygen sensor (front) begins to deteriorate, the heated oxygen sensor signal response deteriorates also.
• The PCM varies the air/fuel mixture to make it leaner and richer, and checks the response speed of the left bank heated oxygen sensor (front). In addition, the PCM also checks for an open circuit in the left bank heated oxygen sensor (front) output line.
DESCRIPTIONS OF MONITOR METHODS
Left bank heated oxygen sensor (front) output voltage is over specified range.
MONITOR EXECUTION
Continuous
MONITOR EXECUTION CONDITIONS (Other monitor and Sensor)

Other Monitor (There is no temporary DTC stored in memory for the item monitored below)
• Heated oxygen sensor heater (front) monitor
• Misfire monitor
• Fuel system monitor

Sensor (The sensor below is determined to be normal)
• Volume airflow sensor
• Engine coolant temperature sensor
• Intake air temperature sensor
• Barometric pressure sensor
• Throttle position sensor
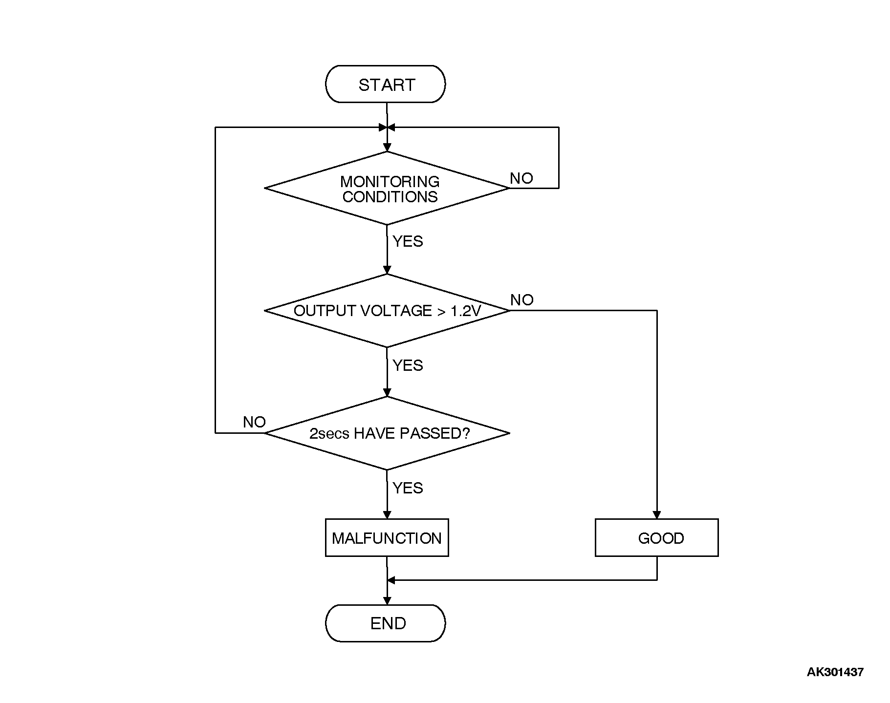
DTC SET CONDITIONS Logic Flow Chart


Check Conditions
2 seconds or more have passed since the starting sequence was completed.

Judgment Criteria
• Left bank heated oxygen sensor (front) output voltage has continued to be 1.2 volts or higher for 2 seconds.
OBD-II DRIVE CYCLE PATTERN
Refer to Diagnostic Function - OBD-II Drive Cycle - Procedure 6 - Other Monitor .
TROUBLESHOOTING HINTS (The most likely causes for this code to be set are: )
• Short circuit in left bank heated oxygen sensor (front) output line.
• Connector damage.
• PCM failed.