[Previous] [Next]

DTC P0133: Heated Oxygen Sensor Circuit Slow Response (bank 1 sensor 1)


CIRCUIT OPERATION
• A voltage corresponding to the oxygen concentration in the exhaust gas is sent to the PCM (terminal No. 72) from the output terminal (terminal No. 4) of the right bank heated oxygen sensor (front).
• Terminal No. 2 of the right bank heated oxygen sensor (front) is grounded with PCM (terminal No. 57).
TECHNICAL DESCRIPTION
• The right bank heated oxygen sensor (front) detects the concentration of oxygen in the exhaust gas; it converts those data to voltage, and inputs the resulting signals to the PCM.
• When the right bank heated oxygen sensor (front) begins to deteriorate, the heated oxygen sensor signal response becomes poor.
• The PCM forcibly varies the air/fuel mixture to make it leaner and richer, and checks the response speed of the right bank heated oxygen sensor (front). In addition, the PCM also checks for an open circuit in the right bank heated oxygen sensor (front) output line.
DESCRIPTIONS OF MONITOR METHODS
Right bank heated oxygen sensor (front) rich/lean switching frequency is under specified value.
MONITOR EXECUTION
Continuous
MONITOR EXECUTION CONDITIONS (Other monitor and Sensor)

Other Monitor (There is no temporary DTC stored in memory for the item monitored below)
• Heated oxygen sensor heater (front) monitor
• Misfire monitor
• Fuel system monitor

Sensor (The sensor below is determined to be normal)
• Volume airflow sensor
• Engine coolant temperature sensor
• Intake air temperature sensor
• Barometric pressure sensor
• Throttle position sensor
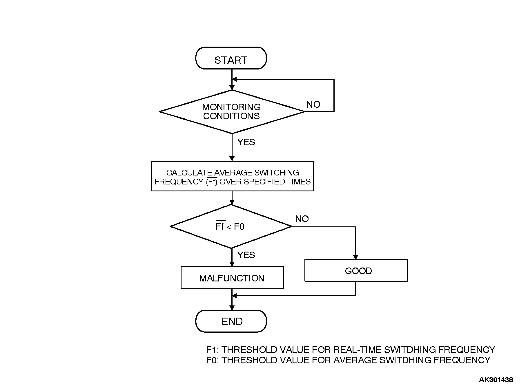
DTC SET CONDITIONS Logic Flow Chart


Check Conditions
Engine coolant temperature is higher than 50°C (122°F).
Engine speed is at between 1,250 and 3,000 r/min.
Under the closed loop air/fuel control.
Volumetric efficiency is at between 25 and 60 percent.
Short-term fuel trim is higher than -30 and lower than +25 percent.
More than 3 seconds have elapsed after the above mentioned conditions have been met.
The PCM monitors for this condition for 7 cycles of 12 seconds each during the drive cycle.
The throttle valve is open.

Judgment Criteria
• The right bank heated oxygen sensor (front) sends "lean" and "rich" signals alternately 11 times or less for 12 seconds.
NOTE: If the sensor switch time is longer than the Judgment Criteria due to the MUT-III OBD-II test Mode - H02S Test Results, it is assumed that the heated oxygen sensor has deteriorated. If it is short, it is assumed that the harness is damaged or has a short circuit. If the heated oxygen sensor signal voltage has not changed even once (lean/rich) after the DTC was erased, the sensor switch time will display as 0 seconds.
OBD-II DRIVE CYCLE PATTERN
Refer to Diagnostic Function - OBD-II Drive Cycle - Procedure 4 - Heated Oxygen Sensor Monitor .
TROUBLESHOOTING HINTS (The most likely causes for this code to be set are:
• Right bank heated oxygen sensor (front) deteriorated.
• Connector damage.
• PCM failed.