[Previous] [Next]

DTC P0113: Intake air temperature Circuit High Input


CIRCUIT OPERATION
• Approximately 5 volts are applied to the intake air temperature sensor output terminal (terminal No. 6) from the PCM (terminal No. 64) via the resistor in the PCM. The ground terminal (terminal No. 5) is grounded with PCM (terminal No. 57).
• The intake air temperature sensor is a negative temperature coefficient type of resistor. When the intake air temperature rises, the resistance decreases.
• The intake air temperature sensor output voltage increases when the resistance increases and decreases when the resistance decreases.
TECHNICAL DESCRIPTION
• The intake air temperature sensor converts the intake air temperature to a voltage.
• The PCM checks whether this voltage is within a specified range.
DESCRIPTIONS OF MONITOR METHODS
Intake air temperature sensor output voltage is out of specified range.
MONITOR EXECUTION
Continuous
MONITOR EXECUTION CONDITIONS (Other monitor and Sensor)

Other Monitor (There is no temporary DTC stored in memory for the item monitored below)
• Not applicable

Sensor (The sensor below is determined to be normal)
• Not applicable
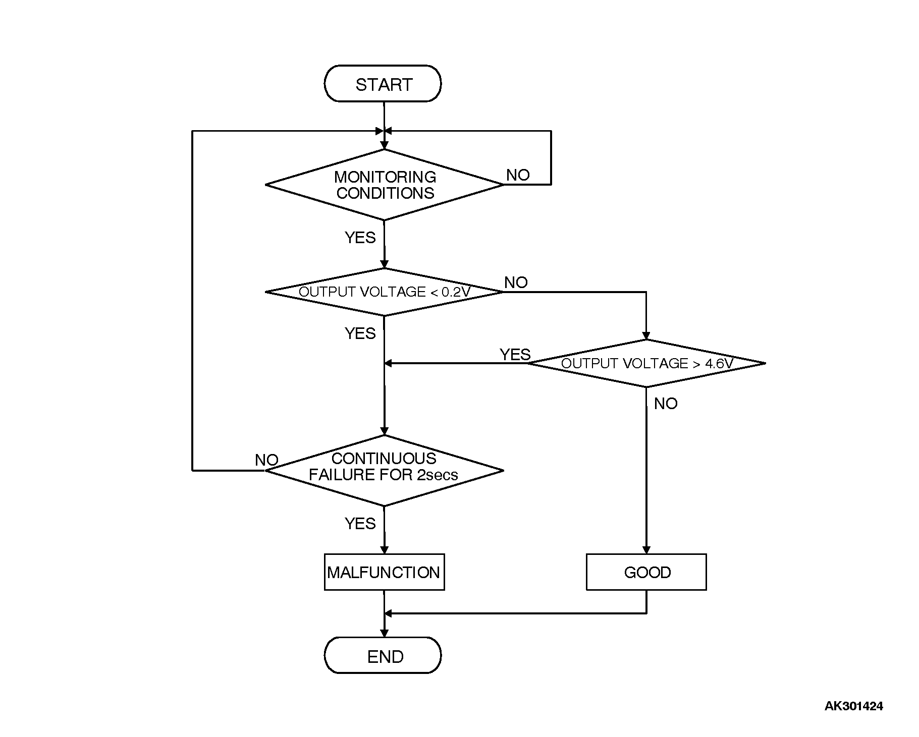
DTC SET CONDITIONS Logic Flow Chart


Check Conditions
2 seconds or more have passed since the starting sequence was completed.

Judgement Criteria
• Intake air temperature sensor output voltage has continued to be 4.6 volts or higher [corresponding to an air intake temperature of -40°C (-40°F) or lower] for 2 seconds.
OBD-II DRIVE CYCLE PATTERN
Refer to Diagnostic Function - OBD-II Drive Cycle - Procedure 6 - Other Monitor .
TROUBLESHOOTING HINTS (The most likely causes for this code to be set are:
• Intake air temperature sensor failed.
• Open intake air temperature sensor circuit, or connector damage.
• PCM failed.