[Previous] [Next]

DTC 33 (P0763): Second Solenoid Valve System


SOLENOID VALVE SYSTEM CIRCUIT
Refer to .
CIRCUIT OPERATION
Refer to .
DESCRIPTIONS OF MONITOR METHODS
If solenoid terminal voltage is below specified value when shift control is not in progress, PCM judges that second solenoid valve has a failure.
MONITOR EXECUTION
Continuous
MONITOR EXECUTION CONDITIONS (OTHER MONITOR AND SENSOR)

Other Monitor (There is no temporary DTC stored in memory for the item monitored below)
• DTC 41 (P0731): 1st gear incorrect ratio
• DTC 42 (P0732): 2nd gear incorrect ratio
• DTC 43 (P0733): 3rd gear incorrect ratio
• DTC 44 (P0734): 4th gear incorrect ratio
• DTC 46 (P0736): Reverse gear incorrect ratio
• DTC 36 (P0743): Torque converter clutch solenoid malfunction
• DTC 31 (P0753): Low-reverse solenoid malfunction
• DTC 32 (P0758): Underdrive solenoid malfunction
• DTC 34 (P0768): Overdrive solenoid malfunction
• DTC 54 (P1751): A/T control relay malfunction

Sensor (The sensor below is determined to be normal)
• Torque converter clutch solenoid
• Low-reverse solenoid
• Underdrive solenoid
• Overdrive solenoid
• A/T control relay
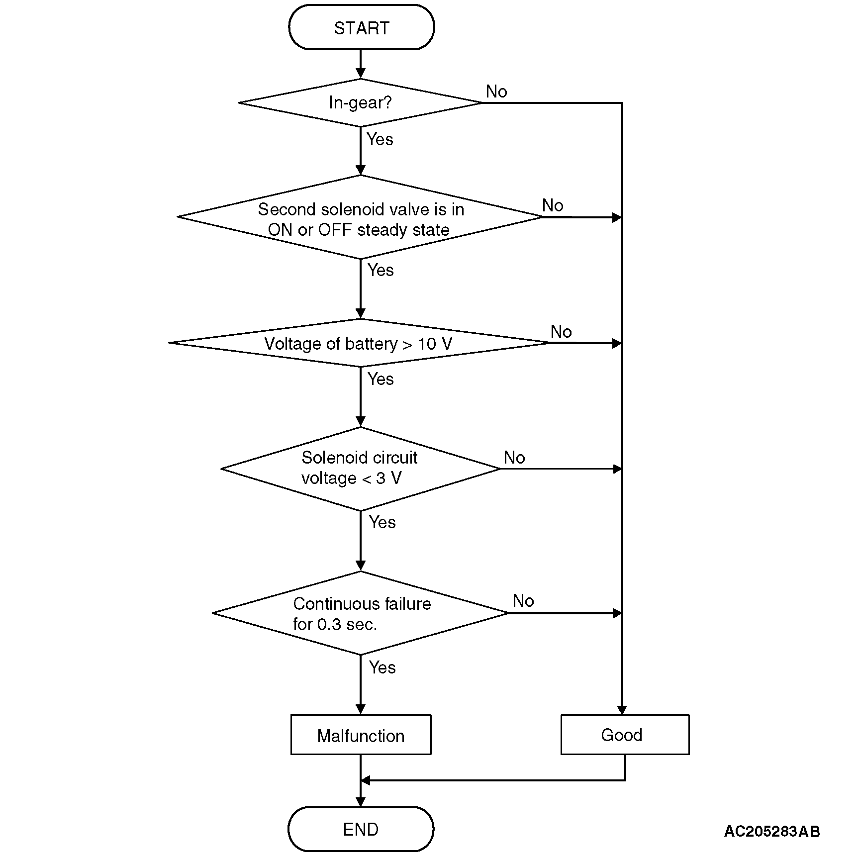
LOGIC FLOW CHARTS (Monitor Sequence)
DTC SET CONDITIONS

Check Conditions
Solenoid status: either solid ON or OFF.
Shift status: in-gear.
Voltage of battery: 10 volts or more.

Judgement Criteria
Solenoid voltage: 3 volts or less. (0.3 second)
If DTC 33 (P0763) is set consecutively four times, the transaxle is locked into 3rd gear as a fail-safe measure, and the "N" range light flashes once per second.
OBD-II DRIVE CYCLE PATTERN
Start the engine, and keep the vehicle stopped in "P" range for 5 seconds.
TROUBLESHOOTING HINTS (THE MOST LIKELY CAUSES FOR THIS CODE TO BE SET ARE:
Malfunction of the second solenoid valve
Damaged harness or connector
Malfunction of the PCM