[Previous] [Next]

DTC P0603: EEPROM Malfunction


TECHNICAL DESCRIPTION
• ECM <M/T> or PCM <A/T> stored the information such as the idle learned value and so on in the memory of ECM <M/T> or PCM <A/T>.
DESCRIPTIONS OF MONITOR METHODS
To check whether the information such as the idle learned value and so on is stored in the memory of ECM <M/T> or PCM <A/T>.
MONITOR EXECUTION
Once per driving cycle
MONITOR EXECUTION CONDITIONS (Other monitor and Sensor)

Other Monitor (There is no temporary DTC stored in memory for the item monitored below)
• Not applicable

Sensor (The sensor below is determined to be normal)
• Not applicable
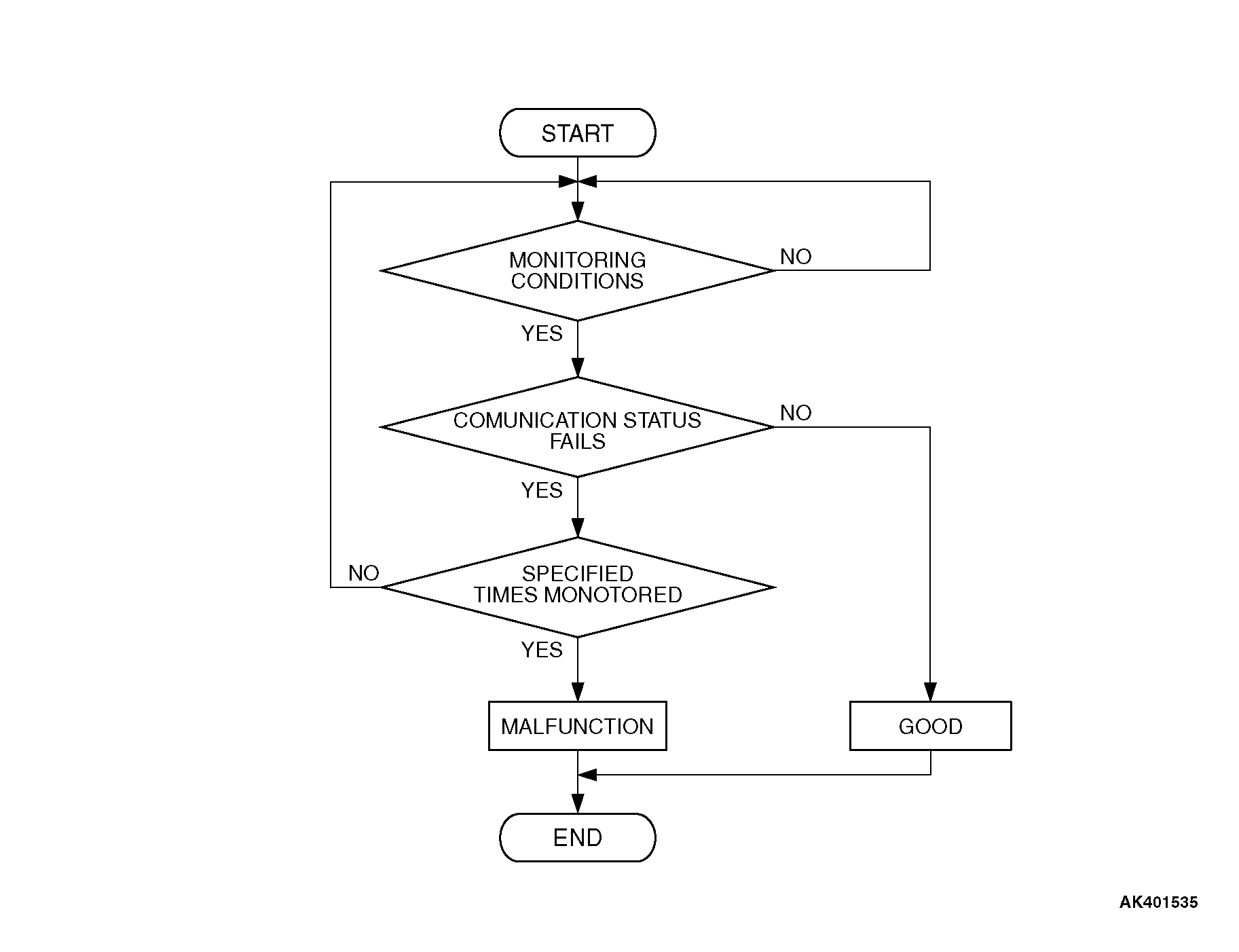
DTC SET CONDITIONS Logic Flow Chart


Check Conditions
Ignition switch is in "ON" position.

Judgement Criteria
• The latest data that was flashed while the ignition switch was in "LOCK" (OFF) position are not stored correctly.
OBD-II DRIVE CYCLE PATTERN
None.
TROUBLESHOOTING HINTS (The most likely causes for this code to be set are:
• ECM failed. <M/T>
• PCM failed. <A/T>