[Previous] [Next]

DTC P1603: Battery Backup Line Malfunction


TECHNICAL DESCRIPTION
• The ECM <M/T> or PCM <A/T> is checks the open circuit of battery backup line.
NOTE: When the system detects an open circuit in the battery backup line, it makes 1 failure judgment of other diagnostic trouble codes (DTCs).
DESCRIPTIONS OF MONITOR METHODS
• An open circuit is detected by monitoring the voltage of the battery backup line.
MONITOR EXECUTION
Continuous
MONITOR EXECUTION CONDITIONS (Other monitor and Sensor)

Other Monitor (There is no temporary DTC stored in memory for the item monitored below)
• Not applicable

Sensor (The sensor below is determined to be normal)
• Not applicable
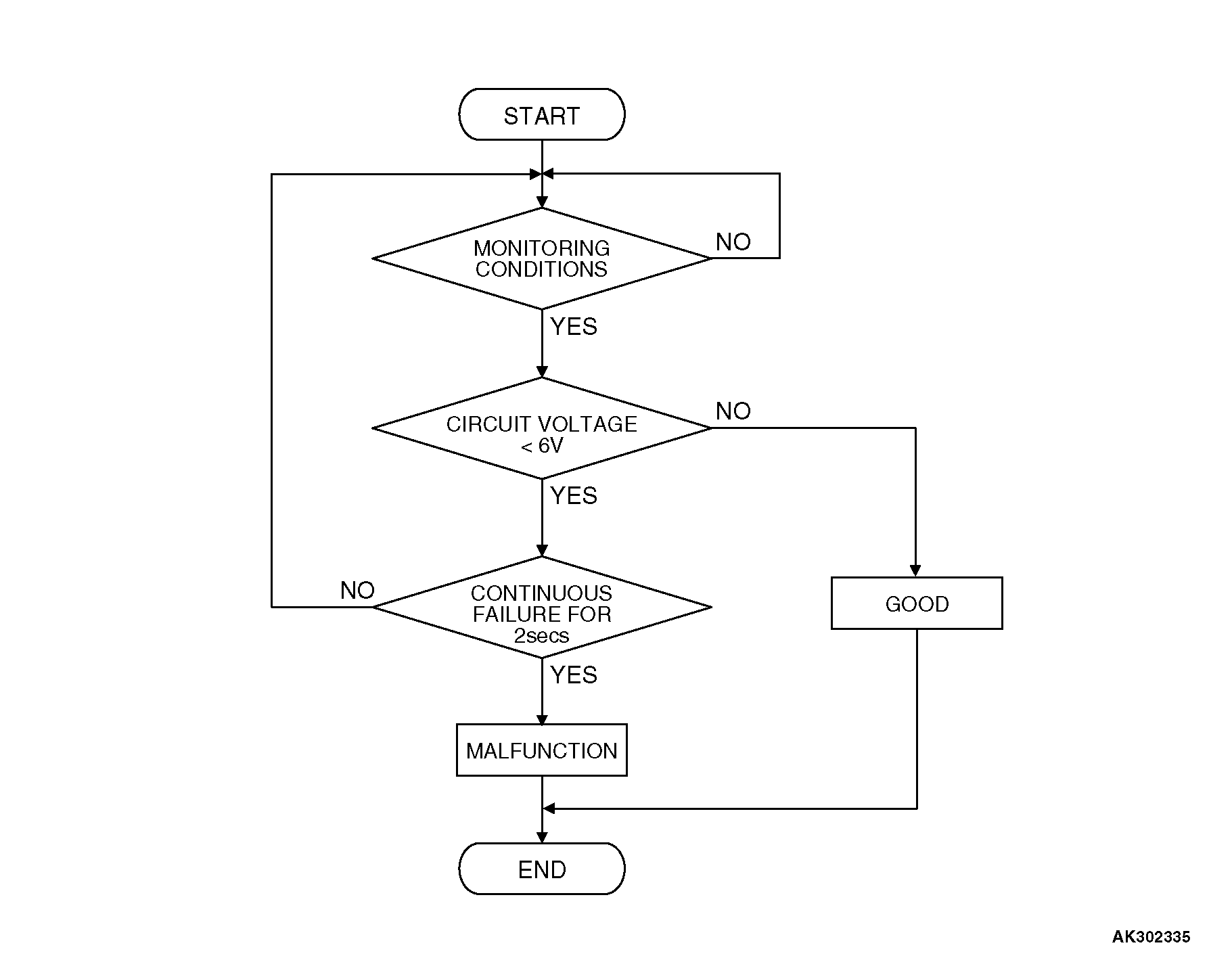
DTC SET CONDITIONS Logic Flow Chart


Check Conditions
Starting sequence was completed.
Battery positive voltage is higher than 10 volts.

Judgement Criteria
• Battery backup line voltage has continued to be 6 volts or lower for 2 seconds.
OBD-II DRIVE CYCLE PATTERN
None.
TROUBLESHOOTING HINTS (The most likely causes for this code to be set are:
• Open or shorted battery backup line, or connector damage.
• ECM failed. <M/T>
• PCM failed. <A/T>