[Previous] [Next]

DTC P0443: Evaporative Emission Control System Purge Control Valve Circuit


CIRCUIT OPERATION
• Power to the evaporative emission purge solenoid power is supplied from the MFI relay (terminal No. 4).
• The ECM <M/T> or PCM <A/T> controls ground evaporative emission purge solenoid by turning the power transistor in the ECM <M/T> or PCM <A/T> "ON" and "OFF".
TECHNICAL DESCRIPTION
• To judge if there is open circuit in the evaporative emission purge solenoid drive circuit, ECM <M/T> or PCM <A/T> measures the surge voltage of the evaporative emission purge solenoid coil.
• The ECM <M/T> or PCM <A/T> drives the evaporative emission purge solenoid. After the solenoid is turned off, the ECM <M/T> or PCM <A/T> will check if the solenoid coil produces a surge voltage of 2 volts or more.
DESCRIPTIONS OF MONITOR METHODS
• If a surge current is not generated in the coil after the evaporative emission purge solenoid has been actuated, an open circuit is determined to have occurred.
MONITOR EXECUTION
Continuous
MONITOR EXECUTION CONDITIONS (Other monitor and Sensor)

Other Monitor (There is no temporary DTC stored in memory for the item monitored below)
• Not applicable

Sensor (The sensor below is determined to be normal)
• Not applicable
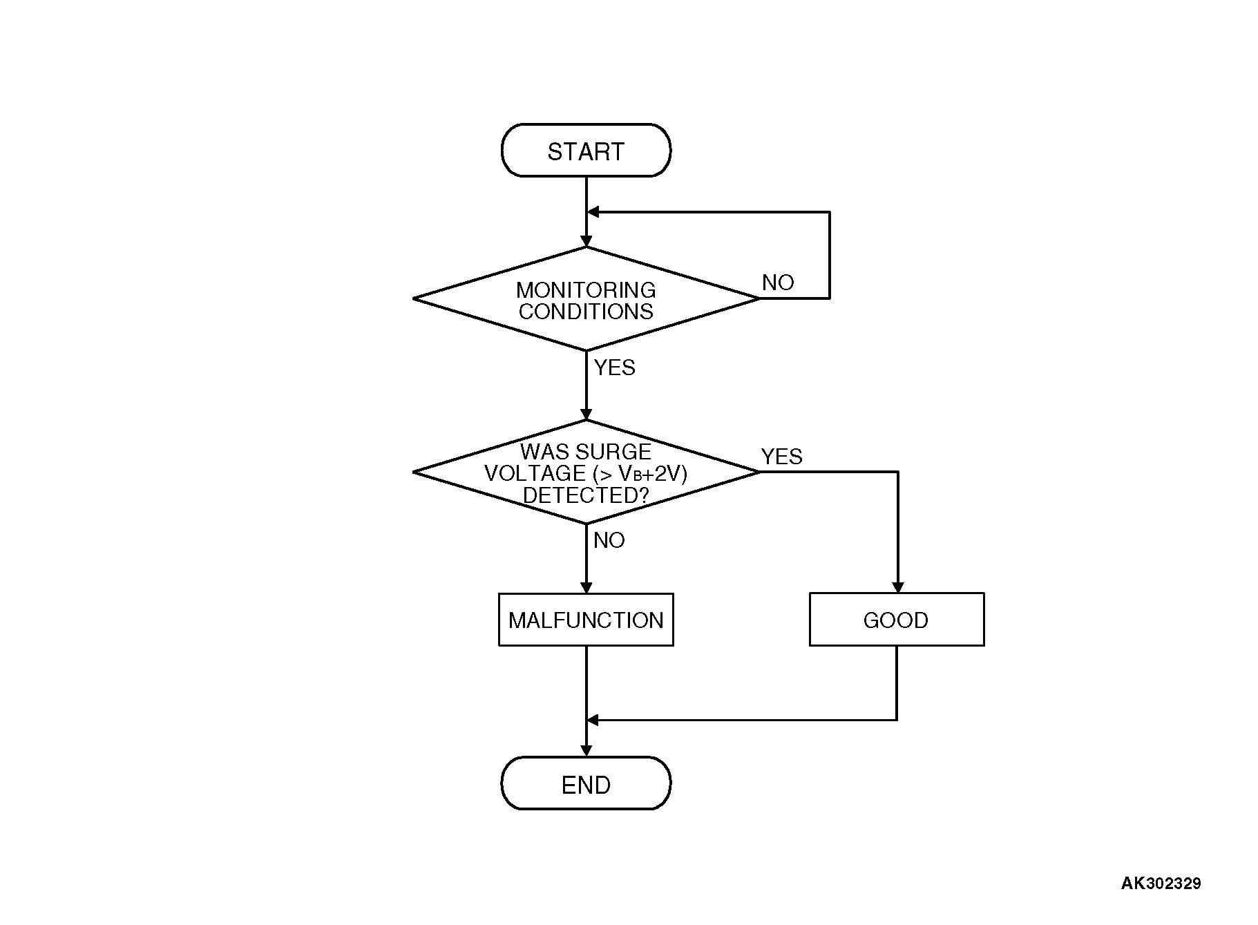
DTC SET CONDITIONS Logic Flow Chart


Check Conditions
Engine is being cranked.
Battery positive voltage is at between 10 and 16.5 volts.

Judgment Criteria
• The evaporative emission purge solenoid coil surge voltage (battery positive voltage + 2 volts) is not detected for 0.2 second.
• The ECM <M/T> or PCM <A/T> PCM monitors for this condition once during the drive cycle.

Check Conditions
Battery positive voltage is at between 10 and 16.5 volts.
ON duty cycle of the evaporative emission purge solenoid is between 10 and 90 percent.
ON duty cycle of the EGR vacuum regulator solenoid valve is 0 percent.
Evaporative emission ventilation solenoid is OFF.
More than 1 second has elapsed after the above mentioned conditions have been met.

Judgment Criterion
• The evaporative emission purge solenoid coil surge voltage (battery positive voltage + 2 volts) is not detected for 1 second. When the evaporative emission purge solenoid is turned OFF.
OBD-II DRIVE CYCLE PATTERN
Refer to Diagnostic Function - OBD-II Drive Cycle - Pattern 19 .
TROUBLESHOOTING HINTS (The most likely causes for this code to be set are:
• Evaporative emission purge solenoid failed.
• Open or shorted evaporative emission purge solenoid circuit, or connector damage.
• ECM failed. <M/T>
• PCM failed. <A/T>