[Previous] [Next]

DTC P0403: Exhaust Gas Recirculation Control circuit


CIRCUIT OPERATION
• The EGR vacuum regulator solenoid valve power is supplied from the MFI relay (terminal No. 4).
• The ECM <M/T> or PCM <A/T> controls the EGR vacuum regulator solenoid valve ground by turning the power transistor in the ECM <M/T> or PCM <A/T> "ON" and "OFF".
TECHNICAL DESCRIPTION
• To judge if there is open circuit in the EGR vacuum regulator solenoid valve drive circuit, ECM <M/T> or PCM <A/T> measures the surge voltage of the EGR vacuum regulator solenoid valve coil.
• The ECM <M/T> or PCM <A/T> drives the EGR vacuum regulator solenoid valve. After the solenoid is turned off, the ECM <M/T> or PCM <A/T> will check if the solenoid coil produces a surge voltage of 2 volts or more.
DESCRIPTIONS OF MONITOR METHODS
• If a surge current is not generated in the coil after the EGR vacuum regulator solenoid valve has been actuated, an open circuit is determined to have occurred.
MONITOR EXECUTION
Continuous
MONITOR EXECUTION CONDITIONS (Other monitor and Sensor)

Other Monitor (There is no temporary DTC stored in memory for the item monitored below)
• Not applicable

Sensor (The sensor below is determined to be normal)
• Not applicable
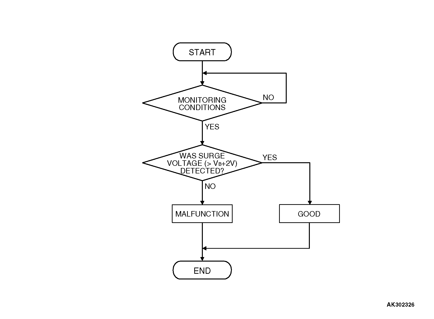
DTC SET CONDITIONS Logic Flow Chart


Check Conditions
Engine is being cranked.
Battery positive voltage is at between 10 and 16.5 volts.

Judgment Criteria
• The EGR vacuum regulator solenoid valve coil surge voltage (battery positive voltage + 2 volts) is not detected for 0.2 second.
• The ECM <M/T> or PCM <A/T> monitors for this condition once during the drive cycle.

Check Conditions
Battery positive voltage is at between 10 and 16.5 volts.
ON duty cycle of the EGR vacuum regulator solenoid valve is between 10 and 90 percent.
ON duty cycle of the evaporative emission purge solenoid is 0 percent.
Evaporative emission ventilation solenoid is OFF.
More than 1 second has elapsed after the above mentioned conditions have been met.

Judgment Criterion
• The EGR vacuum regulator solenoid valve coil surge voltage (battery positive voltage + 2 volts) is not detected for 1 second. When the EGR vacuum regulator solenoid valve is turned OFF.
OBD-II DRIVE CYCLE PATTERN
Refer to Diagnostic Function - OBD-II Drive Cycle - Pattern 19 .
TROUBLESHOOTING HINTS (The most likely causes for this code to be set are: )
• EGR vacuum regulator solenoid valve failed.
• Open or shorted EGR vacuum regulator solenoid valve circuit, or connector damage.
• ECM failed. <M/T>
• PCM failed. <A/T>