[Previous] [Next]

DTC P0301: Cylinder 1 Misfire Detected, DTC P0302: Cylinder 2 Misfire Detected, DTC P0303: Cylinder 3 Misfire Detected, DTC P0304: Cylinder 4 Misfire Detected


Misfire Detected Circuit
• Refer to, DTC P0201 - P0204 Injector Circuit Malfunction .
CIRCUIT OPERATION
• Refer to, DTC P0201 - P0204 Injector Circuit Malfunction .
TECHNICAL DESCRIPTION
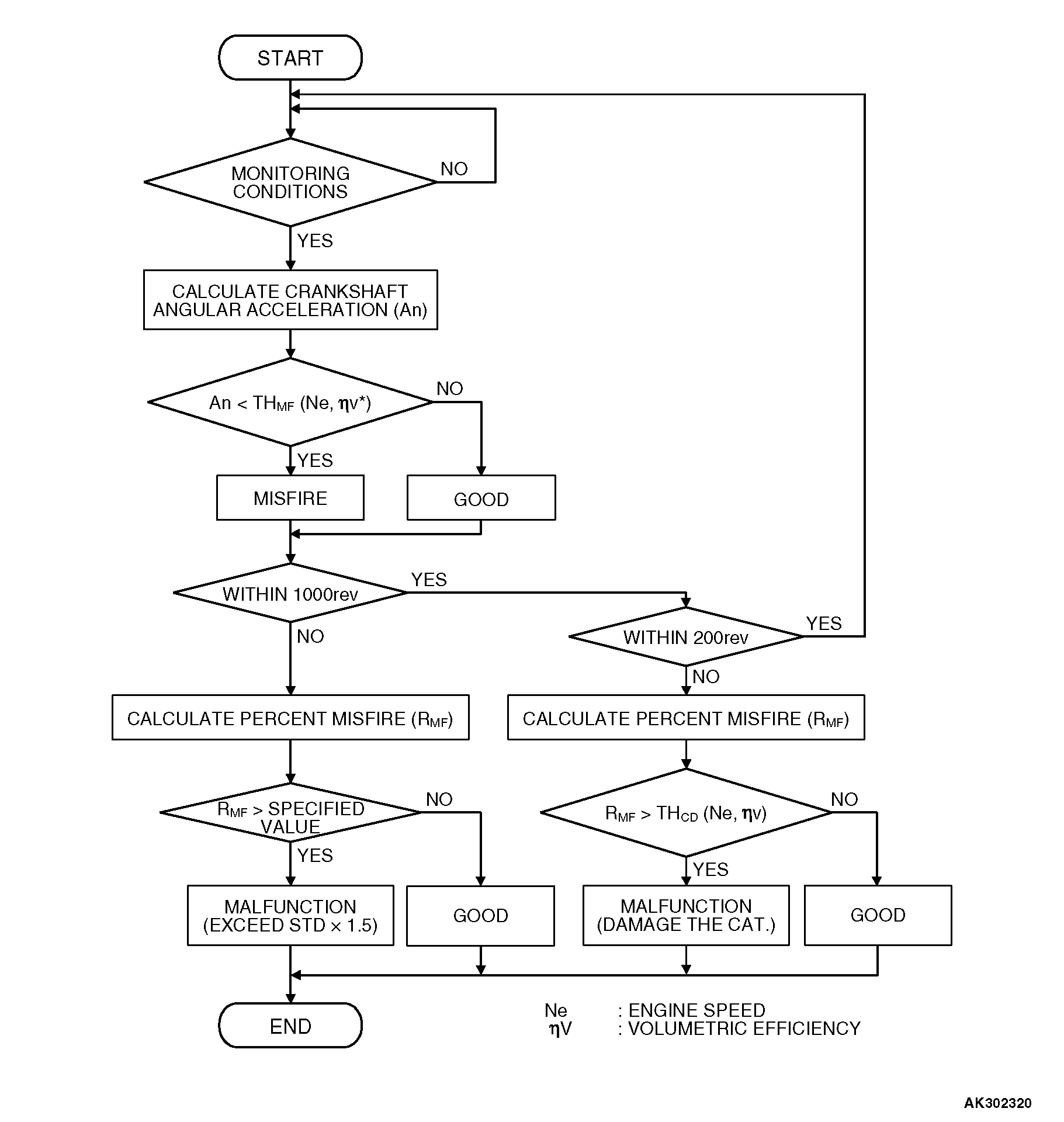
• If a misfire occurs while the engine is running, the engine speed changes for an instant.
• The ECM <M/T> or PCM <A/T> checks for such changes in engine speed.
DESCRIPTIONS OF MONITOR METHODS
• If the amount of negative change in the angular acceleration is excessive while monitoring the angular acceleration of the crankshaft, a misfire is determined to have occurred.
MONITOR EXECUTION
Continuous
MONITOR EXECUTION CONDITIONS (Other monitor and Sensor)

Other Monitor (There is no temporary DTC stored in memory for the item monitored below)
• Not applicable

Sensor (The sensor below is determined to be normal)
• Volume airflow sensor
• Barometric pressure sensor
• Intake air temperature sensor
• Engine coolant temperature sensor
• Throttle position sensor
• Crankshaft position sensor
DTC SET CONDITIONS Logic Flow Chart


Check Conditions
Engine speed is between 500 and 6,000 r/min.
Engine coolant temperature is higher than -10°C (14°F).
Intake air temperature is higher than -10°C (14°F).
Barometric pressure is at between 76 kPa (22.4 in.Hg) and 106 kPa (31 in.Hg).
Volumetric efficiency is at between 30 and 55 percent.
Adaptive learning is complete for the vane which generates a crankshaft position signal.
While the engine is running, excluding gear shifting, deceleration, sudden acceleration/deceleration and A/C compressor switching.
The throttle deviation is -0.059 volt/10ms to +0.059 volt/10ms.

Judgement Criteria (change in the angular acceleration of the crankshaft is used for misfire detection).
• Misfire has occurred more frequently than allowed during the last 200 revolutions [when the catalyst temperature is higher than 950°C (1,742°F)].
or
• Misfire has occurred in 19 or more of the last 1,000 revolutions (corresponding to 1.5 times the limit of emission standard).
OBD-II DRIVE CYCLE PATTERN
Refer to Diagnostic Function - OBD-II Drive Cycle - Pattern 14 .
TROUBLESHOOTING HINTS (The most likely causes for this code to be set are:
• Ignition system related part(s) failed.
• Low compression pressure.
• Injector failed.
• ECM failed. <M/T>
• PCM failed. <A/T>