[Previous] [Next]

DTC P0138: Heated Oxygen Sensor Circuit High Voltage (sensor 2)


CIRCUIT OPERATION
• A voltage corresponding to the oxygen concentration in the exhaust gas is sent to the ECM (terminal No. 75) <M/T> or PCM (terminal No. 73) <A/T> from the output terminal (terminal No. 1) of the heated oxygen sensor (rear).
• Terminal No. 2 of the heated oxygen sensor (rear) is grounded with ECM (terminal No. 92) <M/T> or PCM (terminal No. 57) <A/T>.
TECHNICAL DESCRIPTION
• The output signal of the heated oxygen sensor (front) is compensated by the output signal of the heated oxygen sensor (rear).
• The ECM <M/T> or PCM <A/T> checks for an open circuit in the heated oxygen sensor (rear) output line.
DESCRIPTIONS OF MONITOR METHODS
• If the heated oxygen sensor (rear) output is higher than the standard value while monitoring the heated oxygen sensor (rear) output, a short circuit (short circuit to power supply) is determined to have occurred.
MONITOR EXECUTION
Continuous
MONITOR EXECUTION CONDITIONS (Other monitor and Sensor)

Other Monitor (There is no temporary DTC stored in memory for the item monitored below)
• Heated oxygen sensor heater (front) monitor
• Heated oxygen sensor heater (rear) monitor
• Air/fuel ratio feedback monitor

Sensor (The sensor below is determined to be normal)
• Volume airflow sensor
• Engine coolant temperature sensor
• Intake air temperature sensor
• Barometric pressure sensor
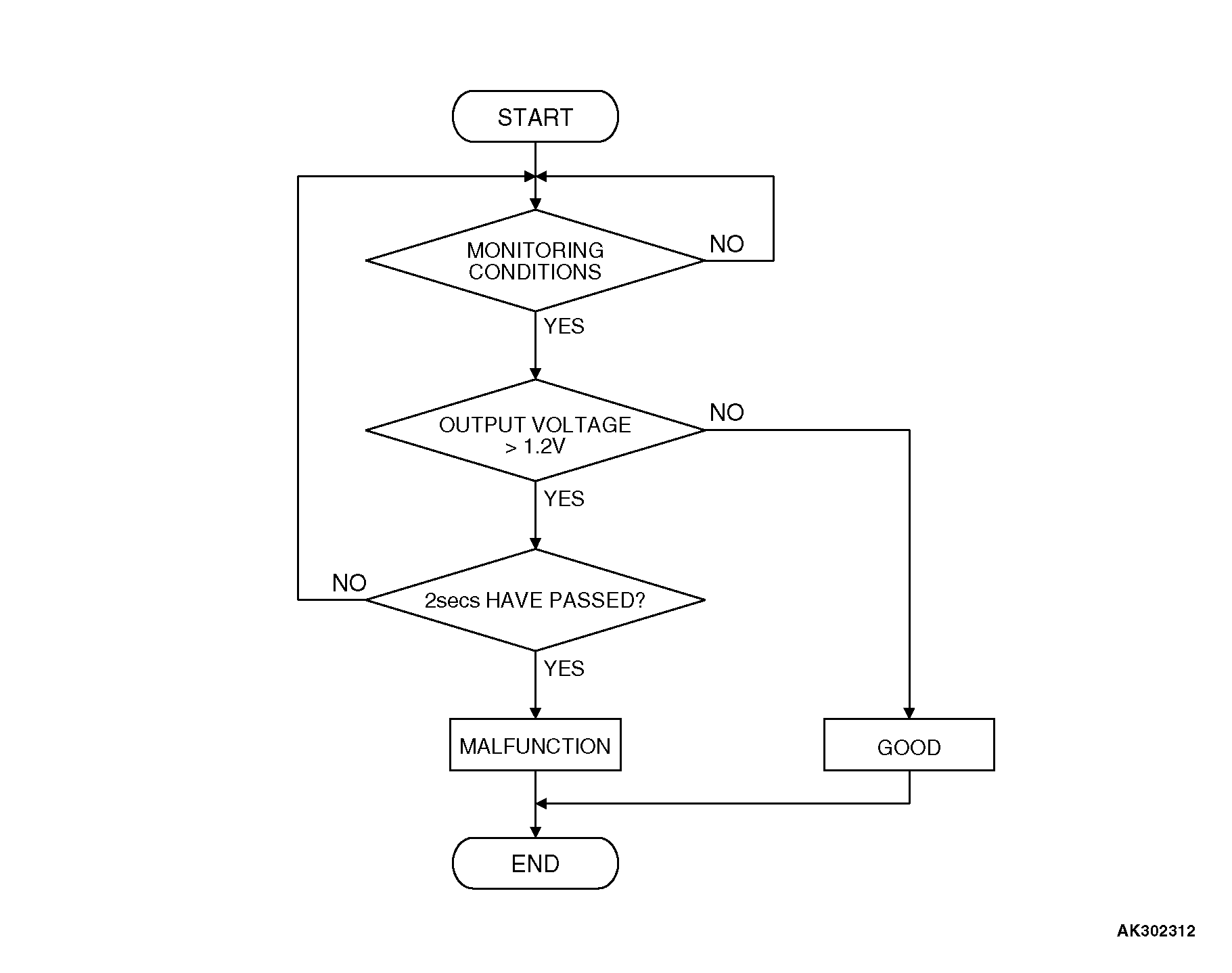
DTC SET CONDITIONS Logic Flow Chart


Check Condition
2 seconds or more have passed since the starting sequence was completed.

Judgment Criterion
• Heated oxygen sensor (rear) output voltage has continued to be 1.2 volts or higher for 2 seconds.
OBD-II DRIVE CYCLE PATTERN
Refer to Diagnostic Function - OBD-II Drive Cycle - Pattern 19 .
TROUBLESHOOTING HINTS (The most likely causes for this code to be set are:
• Heated oxygen sensor (rear) failed.
• Short circuit in heated oxygen sensor (rear) output line.
• ECM failed. <M/T>
• PCM failed. <A/T>