[Previous] [Next]

DTC P0134: Heated Oxygen Sensor Circuit No Activity Detected (sensor 1)


Heated Oxygen Sensor Circuit No Activity Detected (sensor 1) Circuit
Refer to, DTC P0130 Heated Oxygen Sensor (front) Circuit .
Refer to, DTC P0201, P0202, P0203, P0204 - Injector Circuit .
CIRCUIT OPERATION
Refer to, DTC P0130 Heated Oxygen Sensor (front) Circuit .
Refer to, DTC P0201, P0202, P0203, P0204 - Injector Circuit .
TECHNICAL DESCRIPTION
• The ECM <M/T> or PCM <A/T> effects air/fuel ratio feedback control in accordance with the signals from the heater oxygen sensor (front).
• If the heated oxygen sensor (front) has deteriorated, corrections will be made by the heated oxygen sensor (rear).
• DTC P0134 becomes stored in memory if a failure is detected in the above air/fuel ratio feedback control system.
DESCRIPTIONS OF MONITOR METHODS
• If the heated oxygen sensor (front) output does not cross 0.5 volts while monitoring the heated oxygen sensor (front) output, a malfunction is determined to have occurred.
MONITOR EXECUTION
Continuous
MONITOR EXECUTION CONDITIONS (Other monitor and Sensor)

Other Monitor (There is no temporary DTC stored in memory for the item monitored below)
• Heated oxygen sensor heater (front) monitor
• Misfire monitor
• Fuel system monitor

Sensor (The sensor below is determined to be normal)
• Volume airflow sensor
• Barometric pressure sensor
• Intake air temperature sensor
• Engine coolant temperature sensor
• Throttle position sensor
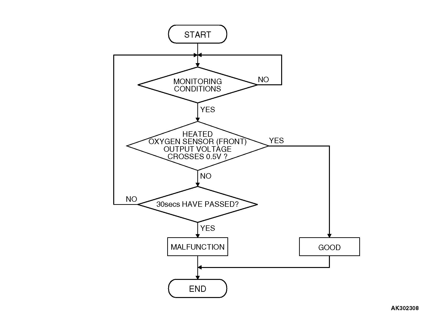
DTC SET CONDITIONS Logic Flow Chart


Check Conditions
20 seconds or more have passed since the starting sequence was completed.
Engine coolant temperature is higher than 50°C (122°F).
Engine speed is higher than 1,200 r/min.
Volumetric efficiency is higher than 30 percent.
Throttle position sensor output voltage is lower than 4 volts.
Except while fuel is being shut off.
Monitoring time: 30 seconds.

Judgment Criterion
• Heated oxygen sensor (front) output voltage does not get across 0.5 volt within about 30 seconds.
OBD-II DRIVE CYCLE PATTERN
Refer to Diagnostic Function - OBD-II Drive Cycle - Pattern 11 .
TROUBLESHOOTING HINTS (The most likely causes for this code to be set are:
• Heated oxygen sensor (front) deteriorated.
• Open circuit in heated oxygen sensor (front) output line.
• Open circuit in heated oxygen sensor (front) ground line.
• Heated oxygen sensor (rear) deteriorated.
NOTE: When the heated oxygen sensor (front) begins to deteriorate, the heated oxygen sensor output voltage will deviate from the voltage when the sensor was new (normally 0.5 volt at stoichiometric ratio). This deviation will be corrected by the heated oxygen sensor (rear). If the heated oxygen sensor (rear) responds poorly because it has deteriorated, it will improperly correct the heated oxygen sensor (front). Thus, even when closed loop control is being effected, the fluctuation of the heated oxygen sensor (front) output voltage decreases, without intersecting with 0.5 volt. As a result, there is a possibility of DTC P0134 becoming registered.
• ECM failed. <M/T>
• PCM failed. <A/T>