[Previous] [Next]

DTC P0123: Throttle Position Sensor Circuit High Input


CIRCUIT OPERATION
• A 5-volt power supply is applied on the throttle position sensor power terminal (terminal No. 3) from the ECM (terminal No. 81) <M/T> or PCM (terminal No. 46) <A/T>. The ground terminal (terminal No. 2) is grounded with ECM (terminal No. 92) <M/T> or PCM (terminal No. 57) <A/T>.
• When the throttle valve shaft is turned from the idle position to the fully opened position, the resistor between the throttle position sensor output terminal (terminal No. 1) and ground terminal will increase according to the rotation.
TECHNICAL DESCRIPTION
• The throttle position sensor outputs voltage which corresponds to the throttle valve opening angle.
• The ECM <M/T> or PCM <A/T> checks whether the voltage is within a specified range. In addition, it checks that the voltage output does not become too high while the engine is at idle.
DESCRIPTIONS OF MONITOR METHODS
• An open circuit is detected while monitoring the throttle position sensor output.
MONITOR EXECUTION
Continuous
MONITOR EXECUTION CONDITIONS (Other monitor and Sensor)

Other Monitor (There is no temporary DTC stored in memory for the item monitored below)
• Not applicable

Sensor (The sensor below is determined to be normal)
• Volume airflow sensor
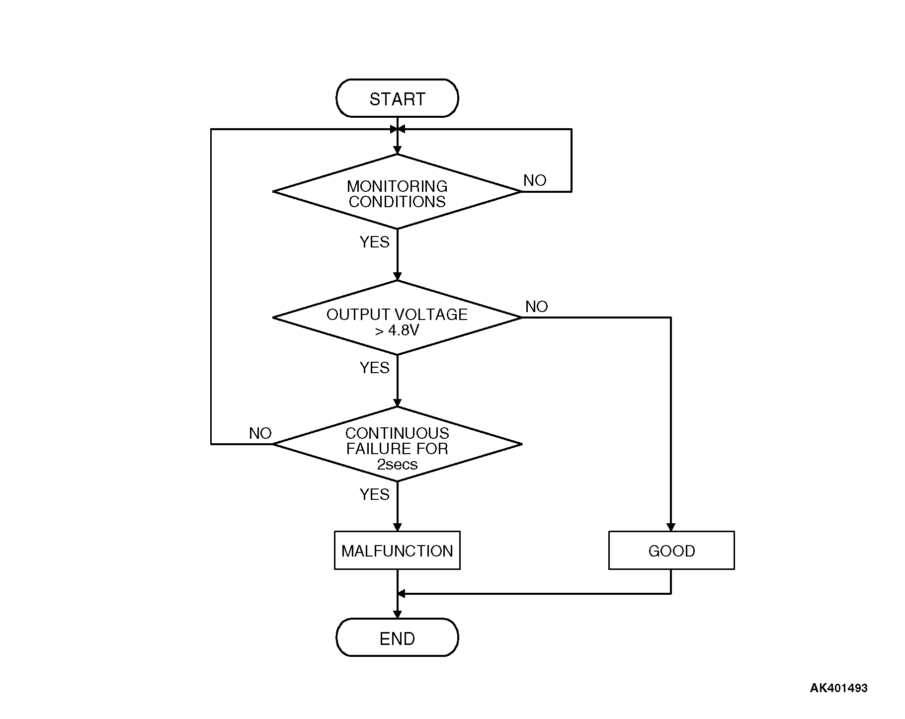
DTC SET CONDITIONS Logic Flow Chart


Check Conditions
2 seconds or more have passed since the starting sequence was completed.
Engine speed is lower than 4,500 r/min.
Volumetric efficiency is lower than 60 percent.

Judgement Criterion
• Throttle position sensor output voltage has continued to be 4.8 volts or higher for 2 seconds.
OBD-II DRIVE CYCLE PATTERN
Refer to Diagnostic Function - OBD-II Drive Cycle - Pattern 19 .
TROUBLESHOOTING HINTS (The most likely causes for this code to be set are: )
• Throttle position sensor failed or incorrectly adjusted.
• Open or shorted throttle position sensor circuit, or connector damage.
• ECM failed. <M/T>
• PCM failed. <A/T>