CIRCUIT OPERATION
• The volume airflow sensor power is supplied from the MFI relay (terminal No. 4), and the ground is provided on the ECM (terminal No. 40) <M/T> or PCM (terminal No. 16) <A/T>.
• 5-volt power is applied to the volume airflow sensor output terminal (terminal No. 3) from the ECM (terminal No. 90) <M/T> or PCM (terminal No. 65) <A/T>. The volume airflow sensor generates a pulse signal when the output terminal and ground are opened/closed (opened/short). TECHNICAL DESCRIPTION
• While the engine is running, the volume airflow sensor outputs a pulse signal which corresponds to the volume of air flow.
• The ECM <M/T> or PCM <A/T> checks whether the frequency of this signal output by the volume airflow sensor while the engine is running is at or above the set value.
• When the throttle position sensor output voltage is low, the ECM <M/T> or PCM <A/T> causes the power transistor to be "ON" to send an volume airflow sensor reset signal to the volume airflow sensor. In response to the reset signal, the volume airflow sensor resets the filter circuit and improves the ability of the volume airflow sensor to measure the amount of air in a small air intake region. DESCRIPTIONS OF MONITOR METHODS
• An abnormal condition is detected in the volume airflow sensor output through a comparison between the driving load and the output frequency of the volume airflow sensor. MONITOR EXECUTION
Continuous MONITOR EXECUTION CONDITIONS (Other monitor and Sensor)
Other Monitor (There is no temporary DTC stored in memory for the item monitored below)
• Not applicable
Sensor (The sensor below is determined to be normal)
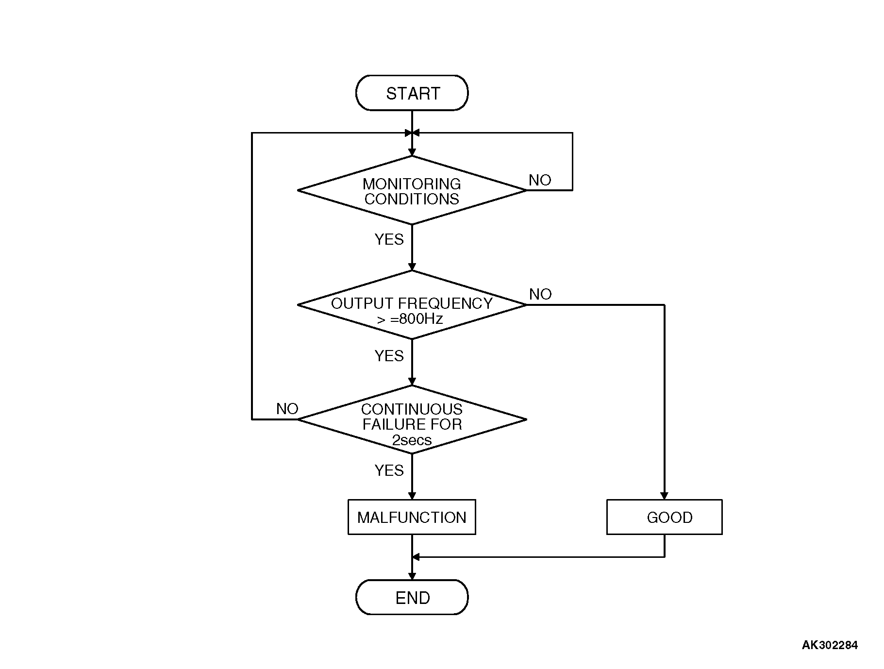
• Throttle position sensor DTC SET CONDITIONS <Range/Performance problem-high input> Logic Flow Chart
Check Conditions
Throttle position sensor output voltage is 2 volts or higher.
Engine speed is higher than 2,000 r/min.
Judgement Criterion
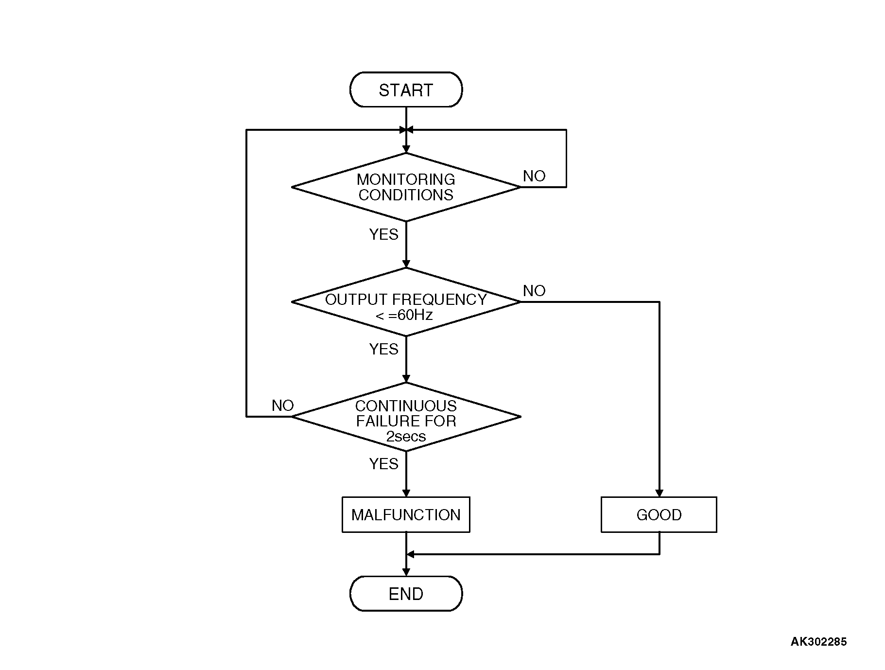
• Volume airflow sensor output frequency has continued to be 800 Hz or higher for 2 seconds. DTC SET CONDITIONS <Range/Performance problem-low input> Logic Flow Chart
Check Conditions
Throttle position sensor output voltage is 1.5 volts or lower.
Engine speed is lower than 2,000 r/min.
Judgement Criterion
• Volume airflow sensor output frequency has continued to be 60 Hz or lower for 2 seconds. OBD-II DRIVE CYCLE PATTERN
Refer to Diagnostic Function - OBD-II Drive Cycle - Pattern 7 . TROUBLESHOOTING HINTS (The most likely causes for this code to be set are:
• Volume airflow sensor failed.
• Open or shorted volume airflow sensor circuit, or connector damage.
• ECM failed. <M/T>
• PCM failed. <A/T>
• Air leak between volume airflow sensor and throttle body.