
|
1.Replace special tool MB992250 with a guide of special MB991355 as shown in the figure.
|

|
2.Insert special tool MB992250 in the knuckle and tighten it with a bolt and nut.
| note |
Set the spacers of special tool MB992250 as shown in the figure.
|
|

|
3.Use special tools MB991000, MB991017, MB991355 and MB992250 to remove the hub.
|

|
1.Use special tools MD998801 and MB991000 to remove the wheel bearing inner race (outside) from the hub.
|

|
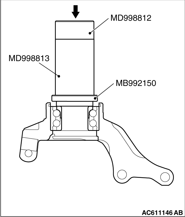
2.Use special tools MB992150, MD998812 and MD998813 to assemble the inner race (outside) removed from the hub to the wheel bearing.
|

|
3.Use special tools MB990935 and MB990938 to remove the wheel bearing.
|

|
| caution |
- The magnetic encoder for wheel speed sensor is installed in the wheel bearing. Install the wheel bearing so that the encoder is positioned in the direction shown in the figure.
- When press-fit the wheel bearing, push the outer race.
- After press-fit the wheel bearing, wipe off the extra grease in order not to remain on the magnetic encoder.
|
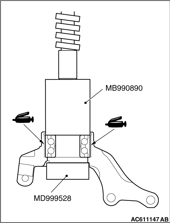
1.Remove grease and foreign material cleanly from the inside of knuckle bore.
|

|
2.Apply the specified grease thinly and evenly to the inside of knuckle as shown in the figure. Specified grease: Dowcorning/Molykote BR2 Plus or equivalent Amount to use: as required {1.0 - 1.5 g (0.03 -0.05 ounce)} 3.Use special tools MB990890 and MD999528 to press-fit the wheel bearing. 4.Remove excessive grease seeped out between knuckle and wheel bearing outer race after press-fitting the wheel bearing.
|

|
Use special tools MB991388 and MB991576 to press-fit the knuckle into the dust shield.
| note |
Use the bolts (M12) to align the caliper mounting holes.
|
|

|
1.Set special tools MB991000, MB991017 and MB991099 as shown in the figure, tighten the nut to the specified torque, and press-fit the hub into the knuckle. Tightening torque: 144 - 176 N·m (107 - 129 ft-lb) 2.Rotate the hub to make the bearing well-greased.
|

|
3.Use Special tools MB990326, MB990685 to measure the hub rotation starting torque. Limit: 1.5 N·m (13 in-lb) 4.Hub rotation starting torque should be within the limit value, and there should be no roughness and gritty feeling in rotation.
|

|
1.Use special tools MB991000 and MB991017 to measure to determine whether the wheel bearing end play is within the specified limit or not. Limit: 0.05 mm(0.002 inch) 2.If the end play is not within the limit range while the nut is tightened to the specified torque, the bearing, hub and/or knuckle have probably not been installed correctly. Replace the bearing and re-install. Tightening torque: 144 - 176 N·m (107 - 129 ft-lb)
|