DTC P0116: Engine
Coolant Temperature Circuit Range/Performance Problem



CIRCUIT OPERATION
- 5-volt voltage is applied to the engine coolant temperature
sensor output terminal (terminal No. 1) from the ECM (terminal No. 26) via the resistor in the
ECM. The ground terminal (terminal No. 2) is grounded with ECM (terminal No. 27).
- The engine coolant temperature sensor is a negative temperature coefficient type of
resistor. It has the characteristic that when the engine coolant temperature rises the resistance decreases.
- The engine coolant temperature sensor output voltage increases when the resistance
increases and decreases when the resistance decreases.
TECHNICAL DESCRIPTION
- The engine coolant temperature sensor converts the engine
coolant temperature to a voltage and outputs it.
- The ECM checks whether this voltage is within a specified range.
DESCRIPTIONS OF MONITOR METHODS
Engine coolant temperature sensor output voltage does
not change for specified period when engine coolant temperature sensor output voltage at engine
start is over 7°C (45°F).
MONITOR EXECUTION
MONITOR EXECUTION CONDITIONS (Other monitor and Sensor)
Other Monitor (There is no temporary DTC stored in memory
for the item monitored below)
Sensor (The sensor below is determined to be normal)
- Mass airflow sensor
- Intake air temperature sensor
DTC SET CONDITIONS
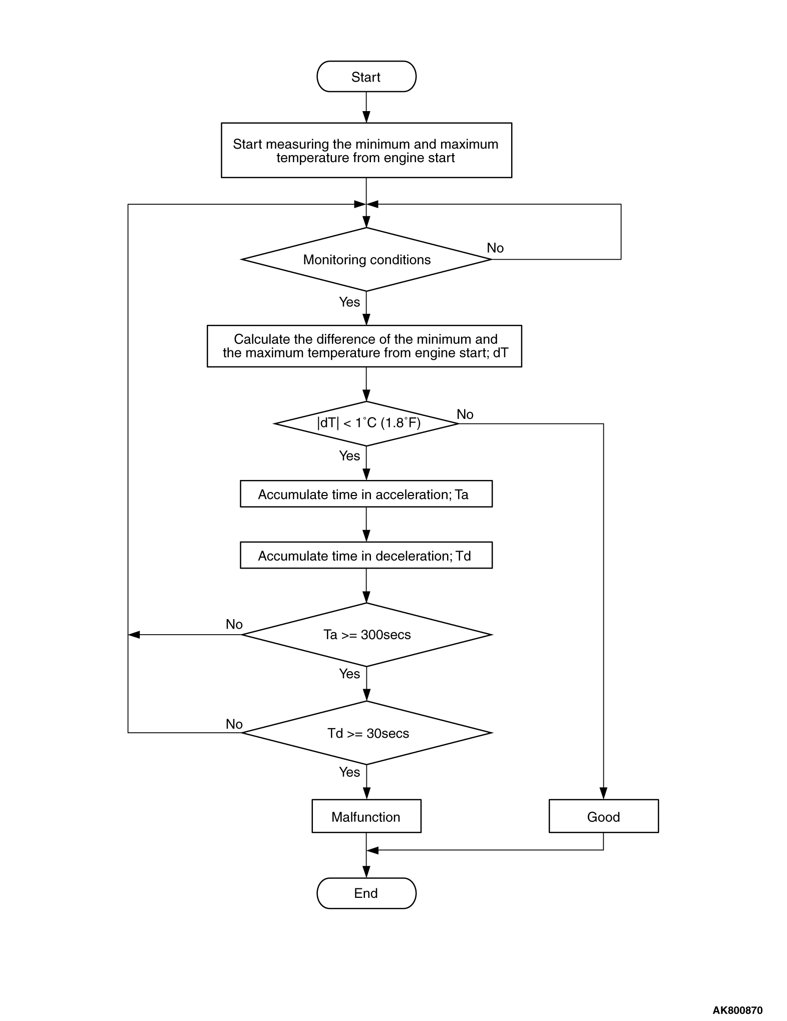
Logic Flow Chart

Check Condition
- Engine coolant temperature was more than 7°C (45°F) when the engine
started.
- The accumulation is more than 300 seconds during the acceleration having the mass
airflow rate of 12 g/sec or more.
- The accumulation is more than 30 seconds during the deceleration having the mass airflow
rate of 9 g/sec or less.
Judgement Criteria
- Engine coolant temperature fluctuates within 1°C (1.8°F) after
330 seconds have passed since the engine was started.
- However, time is not counted if any of the following conditions are met.
- Intake air temperature is more than 60°C
(140°F).
- During fuel shut-off operation.
FAIL-SAFE AND BACKUP FUNCTION
- Control as if the engine coolant temperature is 80 °C
(176°F).
OBD-II DRIVE CYCLE PATTERN
Refer to Diagnostic Function - OBD-II Drive
Cycle - Pattern 8
.
TROUBLESHOOTING HINTS (The most likely causes for this code to be set are:)
- Engine coolant temperature sensor failed.
- Harness damage or connector damage.
- ECM failed.
|
|
Required Special Tools:
- MB991958: Scan Tool (M.U.T.-III Sub Assembly)
- MB991824: V.C.I.
- MB991827: USB Cable
- MB991910: Main Harness A
|
|
|
STEP 1. Using scan tool MB991958, check data list item
6: Engine Coolant Temperature Sensor.
|

|
| caution |
To prevent damage to scan tool MB991958, always turn the ignition switch to the "LOCK"
(OFF) position before connecting or disconnecting scan tool MB991958.
|
(1)Connect scan tool MB991958 to the data link connector. (2)Turn the ignition switch to the "ON" position. (3)Set scan tool MB991958 to the data reading mode for item 6, Engine Coolant Temperature Sensor.
- The engine coolant temperature and temperature shown
with the scan tool should approximately match.
(4)Turn the ignition switch to the "LOCK" (OFF) position.
Q.
Is the sensor operating properly?
It can be assumed that this malfunction is intermittent. Refer to GROUP 00, How
to Use Troubleshooting/Inspection Service Points - How to Cope with Intermittent
Malfunctions .
Go to Step 2.
|
|
|
STEP 2. Check harness connector B-06 at engine coolant temperature
sensor for damage.
|
|
|
Q.
Is the harness connector in good condition?
|
|
|
Go to Step 3.
|
|
|
|
|
|
Repair or replace it. Refer to GROUP 00E, Harness Connector Inspection .
Then go to Step 9.
|
|
|
|
|
|
STEP 3. Check the engine coolant temperature sensor.
|
|
|
Refer to Engine Coolant Temperature Sensor Check .
|
|
|
Q.
Is the engine coolant temperature sensor normal?
|
|
|
Go to Step 4.
|
|
|
|
|
|
Replace the engine coolant temperature sensor. Then go to Step 9.
|
|
|
|
|
|
STEP 4. Check the continuity at engine coolant temperature sensor
harness side connector B-06.
|
|
|
(1)Disconnect the connector B-06 and measure at the harness side.
|

|
(2)Check for the continuity between terminal No. 2 and ground.
- Continuity (2 ohms or less)
Q.
Does continuity exist?
Go to Step 7.
Go to Step 5.
|
|
|
STEP 5. Check harness connector B-108 at ECM for damage.
|
|
|
Q.
Is the harness connector in good condition?
|
|
|
Go to Step 6.
|
|
|
|
|
|
Repair or replace it. Refer to GROUP 00E, Harness Connector Inspection .
Then go to Step 9.
|
|
|
|
|
|
STEP 6. Check for harness damage between engine coolant temperature
sensor connector B-06 (terminal No. 2) and ECM connector B-108 (terminal No. 27).
|
|
|
Q.
Is the harness wire in good condition?
|
|
|
Replace the ECM. When the ECM is replaced, register the ID code. Refer to GROUP
42B, Diagnosis - ID Code Registration Necessity Judgment Table <Vehicles with KOS> or
GROUP 42C, Diagnosis - ID Codes Registration Judgment Table <Vehicles with WCM> .
Then go to Step 9.
|
|
|
|
|
|
Repair it. Then go to Step 9.
|
|
|
|
|
|
STEP 7. Check harness connector B-108 at ECM for damage.
|
|
|
Q.
Is the harness connector in good condition?
|
|
|
Go to Step 8.
|
|
|
|
|
|
Repair or replace it. Refer to GROUP 00E, Harness Connector Inspection .
Then go to Step 9.
|
|
|
|
|
|
STEP 8. Check for harness damage between engine coolant temperature
sensor connector B-06 (terminal No. 1) and ECM connector B-108 (terminal No. 26).
|
|
|
Q.
Is the harness wire in good condition?
|
|
|
Replace the ECM. When the ECM is replaced, register the ID code. Refer to GROUP
42B, Diagnosis - ID Code Registration Necessity Judgment Table <Vehicles with KOS> or
GROUP 42C, Diagnosis - ID Codes Registration Judgment Table <Vehicles with WCM> .
Then go to Step 9.
|
|
|
|
|
|
Repair it. Then go to Step 9.
|
|
|
|
|
|
STEP 9. Test the OBD-II drive cycle.
|
|
|
(1)Carry out a test drive with the drive cycle pattern. Refer to Diagnostic Function - OBD-II
Drive Cycle - Pattern 8 .
|
|
|
(2)Check the diagnostic trouble code (DTC).
|
|
|
Retry the troubleshooting.
|
|
|
|
|
|
The inspection is complete.
|
|
|
|