![[Previous]](../../../buttons/fprev.png)
![[Next]](../../../buttons/fnext.png)
System Description
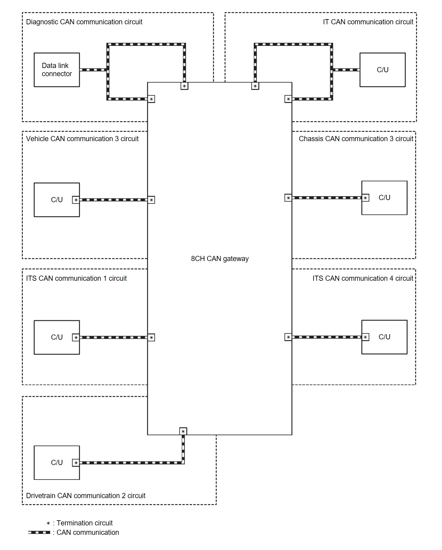
8CH CAN GATEWAY
System Description
- The 8CH CAN gateway system communicates between vehicle CAN communication circuits, ITS CAN communication circuits, chassis CAN communication circuits, IT CAN communication circuit, Drivetrain CAN communication circuit, and diagnostic CAN communication circuit.
- This system selects and transmits only necessary information.